Samsung opatentował smartphone-scroll z ekranu przesuwnych

Autor: Helena Szczerbań | 21.03.2018, 21:55

  Samsung nadal eksperymentować i   „Bądź kreatywny” z   urządzenia z   elastyczne wyświetlacze. na   tym razem   sieci pojawił się na patencie firmy   Smartphone paczka natychmiast   trzy wyświetlacze.

Co to jest

wniosek o   patent   zwięzły zatytułowany „Urządzenie z   Wyświetlacz »(Device Display) został złożony w lecie ubiegłego roku, ale   opublikowana dopiero teraz.

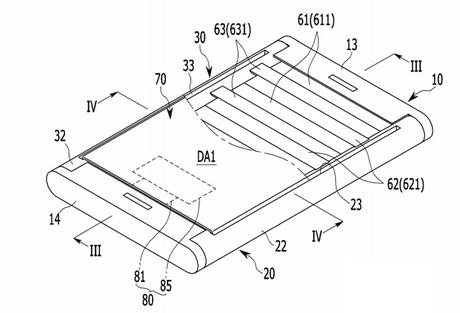
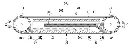
  dokumenty natychmiast opisać smartfon z   trzy ekrany: jeden główny i   dwie boczne. Jeśli to konieczne, są one rozwijane, dzięki czemu urządzenie   prawdziwy tablet, a   krotnie w   „Rury” z   za pomocą siłowników   boki, pozostawiając tylko na głównym ekranie.

W ten sposób, użytkownik może zwiększyć główny ekran, w razie potrzeby, przez pociągnięcie   w kierunku jednego lub dwóch dodatkowych odcinków natychmiast.

Chociaż jest to tylko pomysł na firmę, która wydaje się być czymś nadprzyrodzonym. ale   jeśli jest to   jeszcze przetłumaczyć na   życie   - to będzie ciekawe patrzeć   i grubości   Pozostałe wymiary to smartphone.

Źródło: USPTO