Apple chce opracować składanego iPhone'a z ekranem zdolnym do samoregeneracji

Autor: Vlad Cherevko | 22.05.2024, 17:24

Apple zgłosiło patent na składany ekran, który może samodzielnie naprawiać zadrapania i wgniecenia bez interwencji użytkownika lub bodźców zewnętrznych.

Co wiadomo

Patent ten wskazuje na jedną z potencjalnych funkcji przyszłego składanego urządzenia od Apple. Patent opisuje urządzenie ze składanym ekranem zdolnym do samoregeneracji, które może być wszystkim, od laptopa lub tabletu po smartfon, monitor lub urządzenie do noszenia.

Samoregenerujący się materiał, który może naprawiać zadrapania i wgniecenia, może pokrywać całą warstwę wyświetlacza lub tylko jego elastyczną/wyginaną część. Apple opisuje również, w jaki sposób odbywa się naprawa: samoregeneracja może wystąpić w warstwie samoregenerującego się materiału bez poleceń (np. gdy powłoka zostanie wgnieciona, materiał powłoki może wypełnić wgniecenie nawet bez interwencji zewnętrznej).

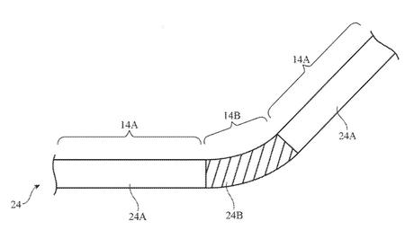
Jednym z przykładów jest wyświetlacz składający się z dwóch solidnych części z elastycznym elementem pomiędzy nimi

Zdolność do samonagrzewania może wystąpić podczas ładowania przewodowego/bezprzewodowego lub według wcześniej ustalonego harmonogramu. Byłby to świetny pomysł dla składanych ekranów telefonów, ponieważ ich plastikowa natura sprawia, że są bardziej podatne na zarysowania niż konwencjonalne szklane ekrany. Warto jednak podkreślić, że jest to tylko patent, więc nie ma gwarancji, że Apple zastosuje tę technologię w przyszłym składanym urządzeniu.

Źródło: AppleInsider