Apple uzyskało patent na zawias nowej generacji dla potencjalnego składanego iPhone'a lub iPada

Autor: Vlad Cherevko | 10.12.2024, 22:33

Apple uzyskało nowy patent na zawias do urządzeń składanych, który może być stosowany w smartfonach, tabletach, laptopach, a nawet urządzeniach do noszenia.

Co wiadomo

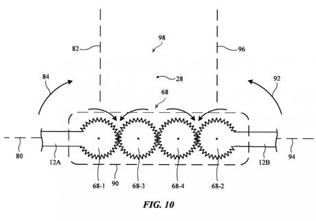
Patent opisuje serię zazębiających się ogniw utworzonych z połączonych "palców" i sprzęgła ciernego. Kluczową cechą jest zastosowanie szczelin w kształcie półksiężyca, które pozwalają każdemu ogniwu obracać się względem innych, co przesuwa oś obrotu poza samo ogniwo. Zapewnia to płynne i zrównoważone składanie jednostki z odpowiednią ilością tarcia. Zawias zawiera również synchronizujące płytki zębate, które zapewniają, że obie strony zawiasu obracają się równomiernie.

Apple już wcześniej informowało, że pracuje nad składanym iPhone'em i większymi składanymi urządzeniami, takimi jak iPad i MacBook, ale napotkało wyzwania techniczne związane z opracowaniem wyświetlacza i komponentów mechanicznych. Nowy patent może pomóc firmie przezwyciężyć te wyzwania i poprawić trwałość i funkcjonalność przyszłych składanych urządzeń.

Źródło: GSMArena