Google patentuje smartfony z wyświetlaczem, głośnikami i funkcją śledzenia ruchów gałek ocznych

Autor: Nastya Bobkova | 10.12.2024, 23:13

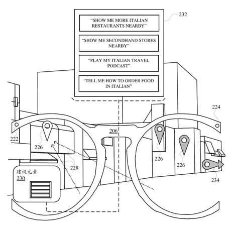
Google prawdopodobnie przygotowuje się do nowej próby wdrożenia projektu inteligentnych okularów, w szczególności dzięki nowemu patentowi na okulary z wbudowanym wyświetlaczem, głośnikami i technologią śledzenia oczu.

Co wiemy

Patent został złożony w Chinach za pośrednictwem krajowej administracji własności intelektualnej CNIPA.

Te inteligentne okulary będą musiały być podłączone do smartfona w celu przetwarzania danych, co pomoże zaoszczędzić energię baterii.

Oprócz wyświetlacza i głośników, okulary są wyposażone w mikrofon, kamery i obsługują sterowanie głosowe, stuknięcia i gesty.

Będą również wykorzystywać dane o lokalizacji użytkownika, aby zapewnić wskazówki i funkcje nawigacyjne.

Chociaż jest to tylko patent, technologia osiągnęła już poziom niezbędny do pomyślnego wdrożenia inteligentnych okularów i jest całkiem możliwe, że takie urządzenia pojawią się na rynku w najbliższej przyszłości.

Źródło: Android Headlines