Galaxy Ring będzie mógł ładować się od smartfona – Samsung patentuje nową technologię

Autor: Nastya Bobkova | 03.04.2025, 18:09

Firma Samsung może zaproponować użytkownikom Galaxy Ring nową metodę ładowania.

Co wiadomo

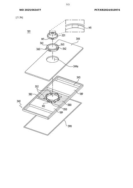
Według niedawno opublikowanego przez Światową Organizację Własności Intelektualnej (WIPO) wniosku patentowego Samsung rozważa możliwość ładowania Galaxy Ring przez specjalny slot na tylnej części smartfona Galaxy.

Ponadto w trakcie takiego ładowania smartpierścionek będzie mógł przesyłać dane o zdrowiu i aktywności fizycznej do telefonu.

W patencie nie precyzuje się, czy ten slot będzie wbudowany bezpośrednio w smartfon, czy stanie się częścią specjalnego etui. Niemniej jednak przedstawione diagramy opisują zarówno twarde, jak i elastyczne konstrukcje smartfonów lub etui, które mogą bezpośrednio ładować Galaxy Ring.

Aktualnie Galaxy Ring można ładować tylko za pomocą specjalnego etui ładującego, które podłącza się przez USB-C lub bezprzewodowo. Dodatkowo etui ładujące można umieścić na tylnej części smartfona Galaxy z obsługą Wireless PowerShare dla zasilania.

Jeśli proponowana w patencie technologia stanie się rzeczywistością, Galaxy Ring będzie mógł ładować się bezpośrednio od smartfona lub etui, co wyeliminuje zależność od etui ładującego. Jednocześnie wdrożenie takiej metody może wiązać się z pewnymi trudnościami: slot do ładowania sprawi, że smartfon stanie się grubszy lub zmusi firmę do zmiany położenia wewnętrznych komponentów. Może to też podnieść koszt smartfonów, co nie przypadnie do gustu użytkownikom, którzy nie planują zakupu Galaxy Ring.

Źródło: WIPO?