Apple chce dodać do klawiatury MacBooka wyjmowany klawisz, który zamienia się w mysz

Autor: Helena Szczerbań | 22.08.2021, 16:02

Często do niektórych precyzyjnych zadań, takich jak projektowanie graficzne, projektowanie wspomagane komputerowo i modelowanie, a także edytowanie dużych i złożonych dokumentów, wygodniej jest używać myszy z laptopem niż  gładzika. Firma Apple uważa, że noszenie osobnej myszy może stać się uciążliwe, więc wymyśliła sposób na wbudowanie myszy w klawiaturę MacBooka .

Jak to działa?

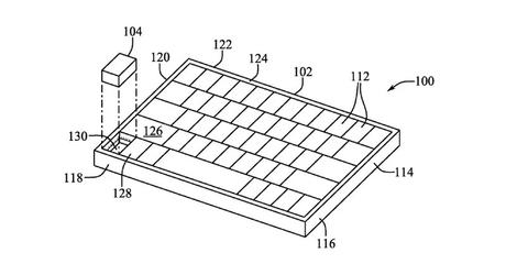
Pomysł został opisany w zgłoszeniu patentowym , które zostało złożone w w Biurze Patentów i Znaków Towarowych USA  . W dokumentacji jest mowa o zwykłej klawiaturze MacBooka z systemem nożycowym . Tylko w ukrywa wyjmowany klawisz, który również pełni funkcję myszki.

 Ilustracje patentu pokazują wysuwany klawisz bliżej krawędzi klawiatury, więc nie będzie on często używany. Dzięki projektowi , klucz ma małą baterię. W klawiaturze jest używany jako normalny klawisz, a po usunięciu - zamienia się w mysz. Będzie on posiadał czujnik położenia w , który pozwoli Ci sterować kursorem na ekranie.

Oczywiście można mieć wątpliwości, czy taka mysz będzie wygodna w użyciu, gdyż jest zbyt mała. Ale nie zapominajmy, że to tylko patent, więc nie będzie zaskoczeniem, jeśli pomysł pozostanie na papierze.

Źródło: Macrumors