Motorola opatentował składany smartfon, który składa się z wyświetlaczem na zewnątrz

Motorola opatentował składany smartfon, który składa się z wyświetlaczem na zewnątrz

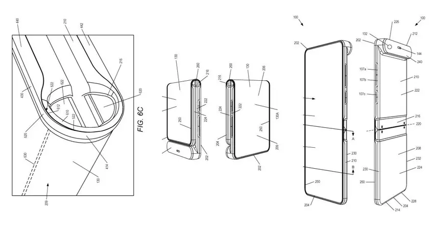
W ofercie Motorola dostępnych jest kilka modeli RAZR wyposażonych w składane ekrany. Teraz amerykańska marka pracuje nad smartfonem, który składa wyświetlacz na zewnątrz.

Co jest znane.

Odpowiedni patent można zobaczyć na stronie internetowej Światowej Organizacji Własności Intelektualnej. Zdjęcie przedstawia niewielką wysepkę u góry z tyłu, na której powinny znajdować się moduły optyczne kamery i głośnika.

Po złożeniu smartfon zaoferuje użytkownikom dwa ekrany – tylny i przedni. Jednocześnie nie jest do końca jasne, jak będzie przebiegać granica między nimi. Ewentualnie na fałdzie. Kiedy model zostanie zaprezentowany i czy w ogóle się pojawi, nie zostało jeszcze określone.

Źródło: MojaSmartCena

var _paq = window._paq = window._paq || []; _paq.push(['trackPageView']); _paq.push(['enableLinkTracking']); (function() { var u='//mm.magnet.kiev.ua/'; _paq.push(['setTrackerUrl', u+'matomo.php']); _paq.push(['setSiteId', '2']); var d=document, g=d.createElement('script'), s=d.getElementsByTagName('script')[0]; g.async=true; g.src=u+'matomo.js'; s.parentNode.insertBefore(g,s); })();