Media: Patent Sony pozwoli akcesoriom ze starych PlayStation działać na nowych konsolach

Media: Patent Sony pozwoli akcesoriom ze starych PlayStation działać na nowych konsolach

Co kilka lat firmy produkujące gry ogłaszają nowe konsole. Ale wraz z przejściem na nowoczesny sprzęt graczom pozostało wiele akcesoriów z poprzedniej generacji, które były niezgodne z nową. Jeśli wierzysz w najnowszy patent Sony, właściciele PlayStation wkrótce nie będziesz musiał się tym martwić.

Firma opublikowany dokument już 30 czerwca, ale większość publikacji zwróciła na to uwagę dopiero teraz. Patent, zatytułowany „Systemy i metody konwertowania przestarzałego kodu oprogramowania i aktualizacji”, opisuje proces emulacji oprogramowania, które jest wymagane do obsługi przestarzałych urządzeń peryferyjnych PlayStation

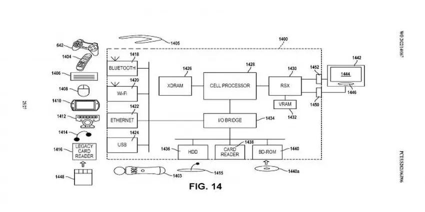
Dokument zawiera wiele technicznego żargonu, co utrudnia zrozumienie zasady idei osobom, które nie rozumieją tematu. Ale schemat z wizerunkiem starych akcesoriów do PlayStation, w tym EyeToy, PS Mouse, kontroler PS1 (nadal bez drążków analogowych) i tajemniczy czytnik kart Legacy. Prawdopodobnie emulacja osiągnie poziom, który pozwoli na korzystanie ze sprzętu na nowszych PlayStation. Przykładowo, wspomniany wcześniej czytnik kart będzie mógł odczytywać stany gry z oryginalnych kart pamięci PS1 i PS2. 

Nie zapominaj, że patenty często pozostają tylko na papierze. Jednak ruchy Sony w obszarze zachowania dziedzictwa gier powinno zadowolić fanów retrogamingu. Możliwe, że prędzej czy później będzie możliwe osiągnięcie kompatybilności projektów PS3 z nowszymi konsolami, a nie poprzez usługi w chmurze.  

var _paq = window._paq = window._paq || []; _paq.push(['trackPageView']); _paq.push(['enableLinkTracking']); (function() { var u='//mm.magnet.kiev.ua/'; _paq.push(['setTrackerUrl', u+'matomo.php']); _paq.push(['setSiteId', '2']); var d=document, g=d.createElement('script'), s=d.getElementsByTagName('script')[0]; g.async=true; g.src=u+'matomo.js'; s.parentNode.insertBefore(g,s); })();