Niezbędny opatentowane smartphone z kamerą przednią skierowaną wysuwaną

Niezbędny opatentowane smartphone z kamerą przednią skierowaną wysuwaną

Wydaje się, Vivo nie będzie   Pierwsze smartfony producenta   chowany aparat z przodu. raz na   MWC 2018 pokazał urządzenie pojęcia z Vivo APEX   Skaner linii papilarnych pod wyświetlaczem i   frontalkoy ukryte wewnątrz gadżetu, firma pokazała swoje podstawowe patent na   smartphone   takie   sama kamera.

Co wiadomo

o   Pat powiedział CEO Andy Rubin   Twitter. Jak się okazało, patent zatytułowany „Aparatura i   sposób, aby zmaksymalizować obszar wyświetlania urządzenia mobilnego „został złożony w   2016.

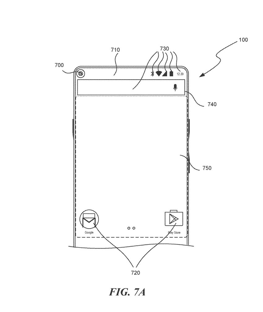
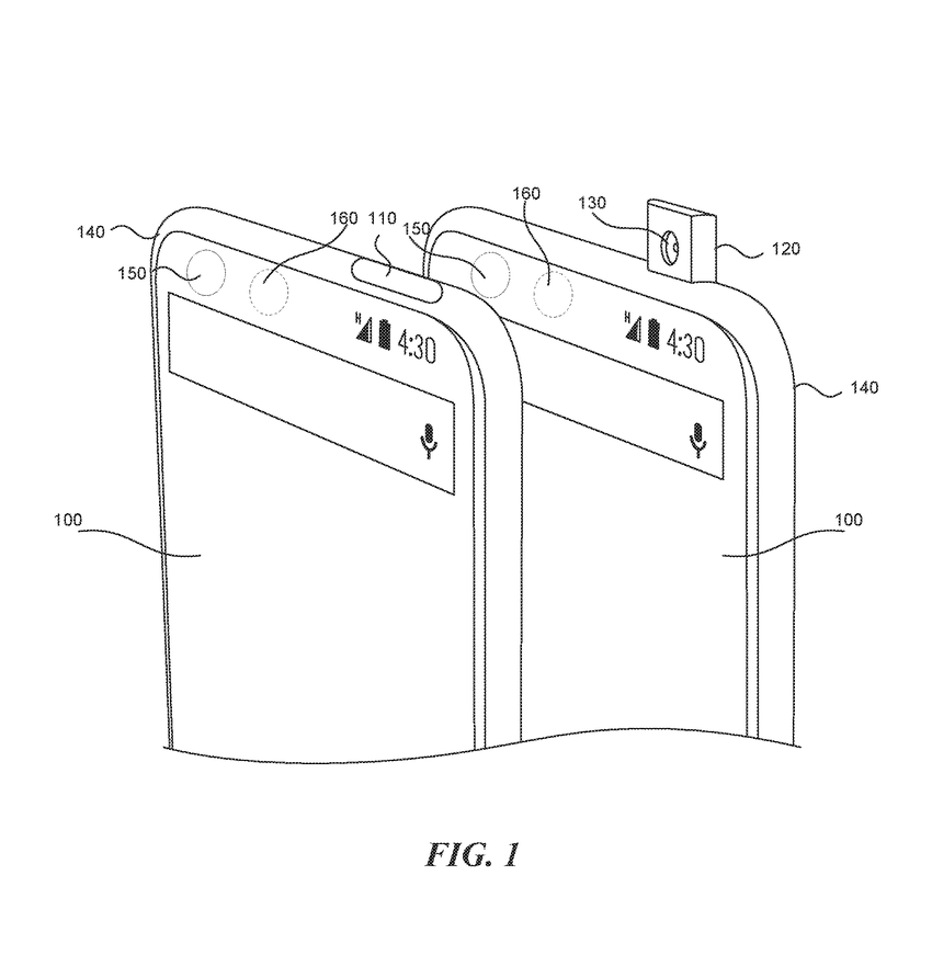
sądząc   systemy w   patent, jeśli to konieczne przednia kamera przedłuży się   smartphone prawym górnym rogu, a   na   zamknięcie   - „ukryć” z powrotem. Czujniki są umieszczone pod wyświetlaczem, a więc górna część ramy jest niewiele, a   Ekran trwa maksymalnej powierzchni.

1
2
3
4

Gdzie będzie znajdować się w słuchawce   - nie jest jeszcze jasne, ale   na   Vivo technologii APEX został zastąpiony SoundCasting ekran, który przenosi wibracje bezpośrednio poprzez ekran urządzenia bez potrzeby budowania w tradycyjnym głośniku.

odbierać   Czy przednia kamera drugiej generacji Niezbędny Telefon i   będzie ucieleśnieniem   czy jest to pomysł   życie   - jest nadal nieznany. ale   Zdajemy sobie sprawę, że jest to „świeże” idea   w porównaniu do   „Monobrovyu”, który zaczął dodawać prawie   każdy nowy model.

Źródło: AndroidPolice , Andy Rubin (Twitter) , patenty w Google

var _paq = window._paq = window._paq || []; _paq.push(['trackPageView']); _paq.push(['enableLinkTracking']); (function() { var u='//mm.magnet.kiev.ua/'; _paq.push(['setTrackerUrl', u+'matomo.php']); _paq.push(['setSiteId', '2']); var d=document, g=d.createElement('script'), s=d.getElementsByTagName('script')[0]; g.async=true; g.src=u+'matomo.js'; s.parentNode.insertBefore(g,s); })();