Samsung opatentował smartphone-scroll z ekranu przesuwnych

Samsung opatentował smartphone-scroll z ekranu przesuwnych

  Samsung nadal eksperymentować i   „Bądź kreatywny” z   urządzenia z   elastyczne wyświetlacze. na   tym razem   sieci pojawił się na patencie firmy   Smartphone paczka natychmiast   trzy wyświetlacze.

Co to jest

wniosek o   patent   zwięzły zatytułowany „Urządzenie z   Wyświetlacz »(Device Display) został złożony w lecie ubiegłego roku, ale   opublikowana dopiero teraz.

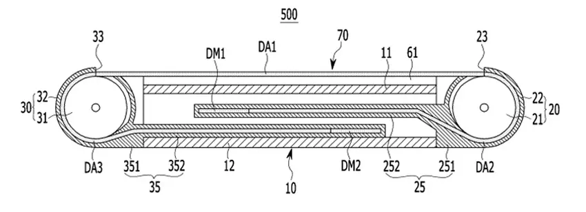
  dokumenty natychmiast opisać smartfon z   trzy ekrany: jeden główny i   dwie boczne. Jeśli to konieczne, są one rozwijane, dzięki czemu urządzenie   prawdziwy tablet, a   krotnie w   „Rury” z   za pomocą siłowników   boki, pozostawiając tylko na głównym ekranie.

1
2

W ten sposób, użytkownik może zwiększyć główny ekran, w razie potrzeby, przez pociągnięcie   w kierunku jednego lub dwóch dodatkowych odcinków natychmiast.

Chociaż jest to tylko pomysł na firmę, która wydaje się być czymś nadprzyrodzonym. ale   jeśli jest to   jeszcze przetłumaczyć na   życie   - to będzie ciekawe patrzeć   i grubości   Pozostałe wymiary to smartphone.

Źródło: USPTO

var _paq = window._paq = window._paq || []; _paq.push(['trackPageView']); _paq.push(['enableLinkTracking']); (function() { var u='//mm.magnet.kiev.ua/'; _paq.push(['setTrackerUrl', u+'matomo.php']); _paq.push(['setSiteId', '2']); var d=document, g=d.createElement('script'), s=d.getElementsByTagName('script')[0]; g.async=true; g.src=u+'matomo.js'; s.parentNode.insertBefore(g,s); })();