Nowy patent Samsunga obiecuje zmniejszyć zużycie energii i hałas w smartfonach z wieloma kamerami

Nowy patent Samsunga obiecuje zmniejszyć zużycie energii i hałas w smartfonach z wieloma kamerami

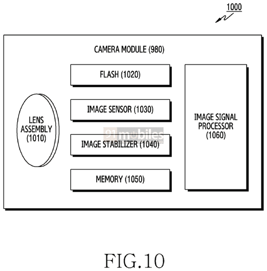
Samsung zgłosił patent na nowy inteligentny system sterowania kamerą, który oszczędza energię podczas korzystania ze smartfonów z wieloma kamerami.

Co wiadomo

Technologia ta polega na wykorzystaniu dodatkowego procesora, który przejmuje zadania związane z zarządzaniem szumami wynikającymi z ruchów obiektywu i algorytmicznym kadrowaniem z elektroniczną stabilizacją obrazu (EIS). Główny procesor może wtedy skupić się na robieniu zdjęć, co zmniejsza ogólne obciążenie i zużycie energii.

1
2
3
4

Gdy urządzenie znajduje się w trybie uśpienia lub niskiego zużycia energii, procesor pomocniczy nadal działa, zapewniając stabilną wydajność aparatu bez znacznego zużycia energii. Pozwala to głównemu procesorowi "odpocząć", ostatecznie wydłużając żywotność baterii.

Korzyści z nowego systemu obejmują redukcję szumów kamery, niższe zużycie energii i płynniejsze działanie wszystkich funkcji kamery. Chociaż na razie jest to tylko patent, jego zastosowanie w świecie rzeczywistym może znacznie poprawić wrażenia użytkownika podczas fotografowania na smartfonach Samsung.

Źródło: 91mobiles

var _paq = window._paq = window._paq || []; _paq.push(['trackPageView']); _paq.push(['enableLinkTracking']); (function() { var u='//mm.magnet.kiev.ua/'; _paq.push(['setTrackerUrl', u+'matomo.php']); _paq.push(['setSiteId', '2']); var d=document, g=d.createElement('script'), s=d.getElementsByTagName('script')[0]; g.async=true; g.src=u+'matomo.js'; s.parentNode.insertBefore(g,s); })();