Google patentuje smartfony z wyświetlaczem, głośnikami i funkcją śledzenia ruchów gałek ocznych

Google patentuje smartfony z wyświetlaczem, głośnikami i funkcją śledzenia ruchów gałek ocznych
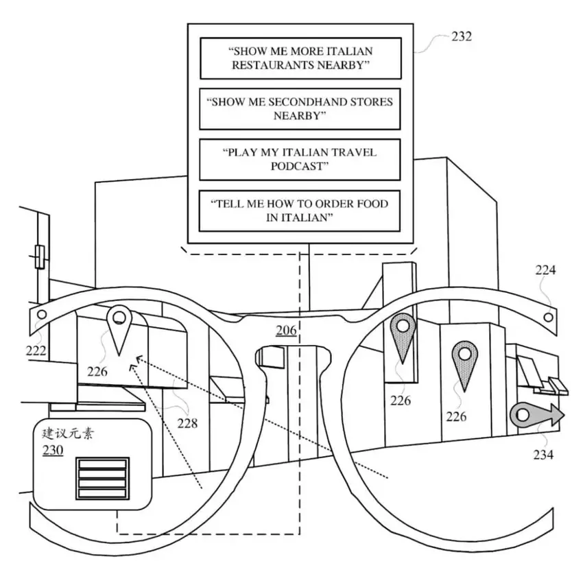
Szkic przyszłych inteligentnych okularów od Google. Źródło: Android Headlines

Google prawdopodobnie przygotowuje się do nowej próby wdrożenia projektu inteligentnych okularów, w szczególności dzięki nowemu patentowi na okulary z wbudowanym wyświetlaczem, głośnikami i technologią śledzenia oczu.

Co wiemy

Patent został złożony w Chinach za pośrednictwem krajowej administracji własności intelektualnej CNIPA.

Te inteligentne okulary będą musiały być podłączone do smartfona w celu przetwarzania danych, co pomoże zaoszczędzić energię baterii.

Oprócz wyświetlacza i głośników, okulary są wyposażone w mikrofon, kamery i obsługują sterowanie głosowe, stuknięcia i gesty.

1
2
3

Będą również wykorzystywać dane o lokalizacji użytkownika, aby zapewnić wskazówki i funkcje nawigacyjne.

Chociaż jest to tylko patent, technologia osiągnęła już poziom niezbędny do pomyślnego wdrożenia inteligentnych okularów i jest całkiem możliwe, że takie urządzenia pojawią się na rynku w najbliższej przyszłości.

Źródło: Android Headlines

var _paq = window._paq = window._paq || []; _paq.push(['trackPageView']); _paq.push(['enableLinkTracking']); (function() { var u='//mm.magnet.kiev.ua/'; _paq.push(['setTrackerUrl', u+'matomo.php']); _paq.push(['setSiteId', '2']); var d=document, g=d.createElement('script'), s=d.getElementsByTagName('script')[0]; g.async=true; g.src=u+'matomo.js'; s.parentNode.insertBefore(g,s); })();