Rivian zgłosił patent na podgrzewane soczewki LED oparte na nanorurkach węglowych

Rivian zgłosił patent na podgrzewane soczewki LED oparte na nanorurkach węglowych
Rivian R2. Źródło: Rivian

Właściciele samochodów elektrycznych Rivian często skarżą się na oblodzenie reflektorów LED. Jest to powszechny problem z tego typu reflektorami, występujący również w innych markach. Wygląda jednak na to, że amerykański producent elektrycznych pickupów i SUV-ów wymyślił oryginalne rozwiązanie - podgrzewane soczewki.

Co wiadomo.

Wniosek został złożony w Urzędzie Patentów i Znaków Towarowych Stanów Zjednoczonych (USPTO) w czerwcu 2023 r. i upubliczniony w grudniu 2024 r. Na dokument zwrócili naszą uwagę koledzy z Motor Authority. Stwierdza on, że Rivian rozważa dodanie elementu grzejnego, który przenosi ciepło przez soczewkę dzięki zintegrowanym nanorurkom węglowym.

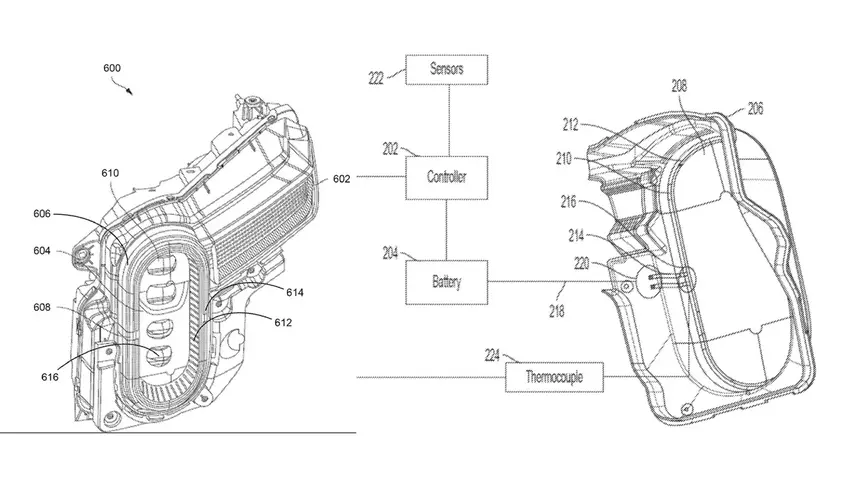
Schemat reflektora Rivian z podgrzewaną soczewką LED.
Schematyczny obraz reflektora Rivian z podgrzewaną soczewką LED. Źródło: Motor Authority

Rivian mógł rozwiązać ten problem w staromodny sposób, instalując podgrzewane dysze do czyszczenia reflektorów, ale podgrzewane soczewki wydają się być bardziej eleganckim i zaawansowanym technologicznie rozwiązaniem. Nanorurki zostały dobrane tak, aby nie utrudniać przepływu światła przez soczewkę. Ciekawie będzie jednak zobaczyć, co Rivian faktycznie wprowadzi do produkcji.

Rysunki patentowe przedstawiają reflektor o typowej konstrukcji Rivian, więc nie jest jasne, czy jest on przeznaczony dla R1, R2 czy R3.

Źródło: Motor Authority

var _paq = window._paq = window._paq || []; _paq.push(['trackPageView']); _paq.push(['enableLinkTracking']); (function() { var u='//mm.magnet.kiev.ua/'; _paq.push(['setTrackerUrl', u+'matomo.php']); _paq.push(['setSiteId', '2']); var d=document, g=d.createElement('script'), s=d.getElementsByTagName('script')[0]; g.async=true; g.src=u+'matomo.js'; s.parentNode.insertBefore(g,s); })();