Hybrydowe Porsche będą lżejsze i mocniejsze dzięki wyjątkowemu silnikowi elektrycznemu

Hybrydowe Porsche będą lżejsze i mocniejsze dzięki wyjątkowemu silnikowi elektrycznemu
Porsche 911 Carrera GTS. Źródło: Porsche

Porsche zarejestrowało patent na hybrydowy układ napędowy, łączący kompaktowe i lekkie silniki elektryczne z osiowym przepływem magnetycznym dostarczone przez Yasa oraz silnik spalinowy.

Co wiadomo

Patent został zarejestrowany w Światowej Organizacji Własności Intelektualnej (WIPO). Dokument dotyczy dowolnego samochodu osobowego, jednak osobno wspomniano o zastosowaniu „w samochodach sportowych”.

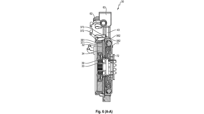
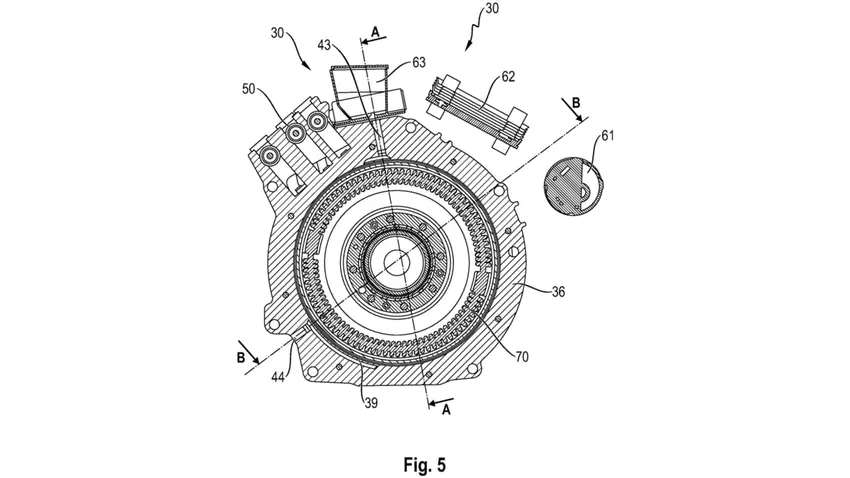
Zamiast instalacji stosunkowo dużego silnika elektrycznego z przepływem radialnym w obudowie skrzyni biegów PDK, jak to robi obecnie Porsche w modelu 911 Carrera GTS, cienki dyskowy silnik elektryczny z przepływem osiowym będzie umieszczony pomiędzy silnikiem a układem napędowym.

Silnik z przepływem osiowym (znany także jako „silnik dyskowy”) to silnik elektryczny, w którym przepływ magnetyczny przebiega równolegle do osi obrotu, w przeciwieństwie do zwykłych silników radialnych, gdzie przepływ jest prostopadły do osi. Pozwala to na tworzenie bardziej kompaktowych, lekkich i efektywnych konstrukcji z wysoką gęstością mocy oraz momentem obrotowym, zwłaszcza przy niskich prędkościach.

1
2
3
4
5

Patent przewiduje, że silnik elektryczny i silnik spalinowy będą współpracować poprzez dwusprzęgłową skrzynię biegów. Dzięki ultracienkiej konstrukcji silnika elektrycznego (grubość w niektórych nowoczesnych modelach wynosi zaledwie 7,9 centymetra), nie zwiększy on długości całego układu napędowego.

Twierdzi się, że taka konstrukcja prowadzi do mniejszego wydzielania ciepła. W połączeniu z przepuszczalną komorą w kształcie miski lub dzwonka, opisaną w dokumencie, silnik elektryczny i silnik spalinowy powinny otrzymywać wystarczające chłodzenie. Główne pytanie brzmi: ile mocy może generować ten system hybrydowy?

Wiadomo, że najbardziej wydajne jednostki Yasa osiągają moc ponad 470 KM i moment obrotowy 800 Nm. Hybrydowy Ferrari SF90 wykorzystuje trzy silniki Yasa o łącznej mocy 217 KM, podczas gdy dwa silniki Lamborghini Revuelto rozwijają nieco mniej niż 296 KM. Ale oba te systemy działają w parze z dużymi silnikami V8 i V12.

Jeśli Porsche połączy nowy silnik z przepływem osiowym z 3,6-litrowym silnikiem turbo, łączna moc systemu może przekroczyć 800 KM.

Źródło: Carbuzz

var _paq = window._paq = window._paq || []; _paq.push(['trackPageView']); _paq.push(['enableLinkTracking']); (function() { var u='//mm.magnet.kiev.ua/'; _paq.push(['setTrackerUrl', u+'matomo.php']); _paq.push(['setSiteId', '2']); var d=document, g=d.createElement('script'), s=d.getElementsByTagName('script')[0]; g.async=true; g.src=u+'matomo.js'; s.parentNode.insertBefore(g,s); })();