W regulatorze 5 PlayStation może pojawić się ładowanie bezprzewodowe

W regulatorze 5 PlayStation  może pojawić się ładowanie bezprzewodowe

Na początku tygodnia rozmawialiśmy o tym, w jaki sposób DualShock 5 na PlayStation 5 może uzyskać czujniki mierzące stan emocjonalny gracza. Teraz w sieci pojawił się patent wskazujący na dodanie ładowania bezprzewodowego.

Co wiadomo

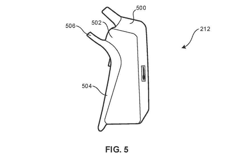
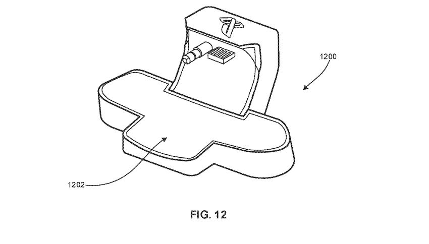
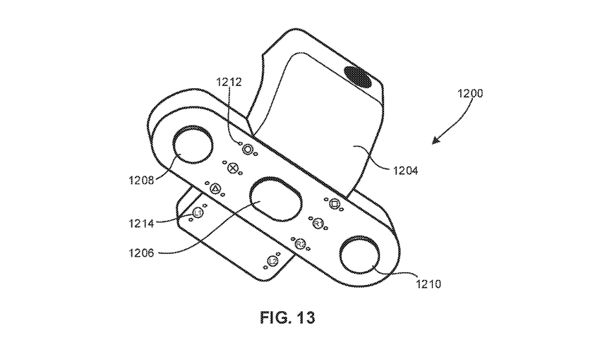
Zgodnie z dokumentem, Sony planuje wypuścić adapter z cewką indukcyjną, która ładuje kontroler bezprzewodowo ze stacji dokującej. Ponadto sam dodatek może uzyskać dodatkowe przyciski, które powtarzają klawisze na kontrolerze DualShock 4.

„Połączenie bezprzewodowego adaptera do ładowania z możliwością strategicznego umieszczania zduplikowanych elementów sterujących kontrolera do gier, które jest zainstalowane z tyłu kontrolera, poprawia rozgrywkę i rozwiązuje dwa problemy dla graczy w tym samym czasie w jednym produkcie”, mówi patent.

1
2
3
4

Przypomnijmy, że Sony wprowadziło już dodatek, który dodaje kilka przycisków z tyłu DualShock 4. Być może nowy gadżet będzie rodzajem ulepszonej opcji, ponieważ został opatentowany w październiku 2019 r., Ale wydano dokument dopiero 27 lutego. Lub Japończycy początkowo chcieli wypuścić załącznik z przyciskiem wstecznym z obsługą ładowania bezprzewodowego, ale nie mogli zrealizować tego pomysłu.

Pozostało prawie rok do premiery PlayStation 5, ponieważ Sony obiecuje wypuścić konsolę już w święta 2020 roku. Dlatego opatentowany adapter może uzyskać drugą szansę i nadal dotrzeć do graczy.

Dla graczy, którzy chcą wiedzieć więcej:

var _paq = window._paq = window._paq || []; _paq.push(['trackPageView']); _paq.push(['enableLinkTracking']); (function() { var u='//mm.magnet.kiev.ua/'; _paq.push(['setTrackerUrl', u+'matomo.php']); _paq.push(['setSiteId', '2']); var d=document, g=d.createElement('script'), s=d.getElementsByTagName('script')[0]; g.async=true; g.src=u+'matomo.js'; s.parentNode.insertBefore(g,s); })();