EA pracuje nad systemem ochrony przed oszustwami, który ignoruje 20% działań intruza

EA pracuje nad systemem ochrony przed oszustwami, który ignoruje 20% działań intruza

Według zgłoszenia patentowego EA pracuje nad systemem ochrony przed oszustami, który jest w stanie zignorować co piąty krok naruszeń.

Co jeszcze wiadomo

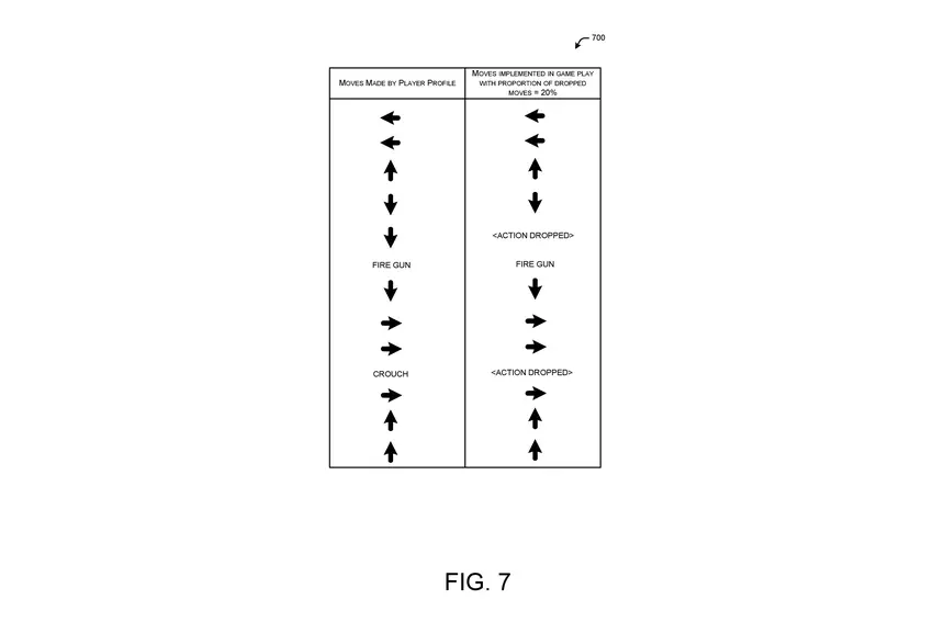
  • Według patentu zgłoszonego przez EA w styczniu, system ochrony przed oszustami, nad którym pracuje, będzie mógł postawić oszustów w niekorzystnej sytuacji, nakładając kilka kar, z których jedną jest ignorowanie 20% naciśnięć klawiszy.
  • Co piąty krok, który zrobią, zostanie całkowicie zignorowany. Na papierze ten mechanizm może dać graczom większą szansę na samodzielne pokonanie oszustów.
  • Ponadto oszust nigdy nie może wiedzieć, które z zaplanowanych działań zostaną całkowicie zignorowane przez grę.
  • Zarzuca się również, że system zapobiegający oszustwom, nad którym pracuje EA, może wykryć, czy konto gracza jest powiązane z innym jego kontem, na którym naruszył on zasady.. W związku z tym osoby naruszające nie będą w stanie uniknąć kary, po prostu tworząc nowe konto.

Jeśli spojrzysz na to, jak to działa na papierze, patent wygląda tak:

Źródło: medianews.com
var _paq = window._paq = window._paq || []; _paq.push(['trackPageView']); _paq.push(['enableLinkTracking']); (function() { var u='//mm.magnet.kiev.ua/'; _paq.push(['setTrackerUrl', u+'matomo.php']); _paq.push(['setSiteId', '2']); var d=document, g=d.createElement('script'), s=d.getElementsByTagName('script')[0]; g.async=true; g.src=u+'matomo.js'; s.parentNode.insertBefore(g,s); })();