Samsung mógł opatentować nowy projekt inteligentnego pierścienia Galaxy Ring nowej generacji

Samsung mógł opatentować nowy projekt inteligentnego pierścienia Galaxy Ring nowej generacji

Samsung może zaprezentować długo oczekiwany inteligentny pierścień Galaxy Ring przed wydarzeniem Unpacked, które odbędzie się 10 lipca. Oczekuje się, że urządzenie to będzie nowym słowem w branży gadżetów do noszenia. Niedawno odkryte zgłoszenie patentowe podsyciło plotki o rozwoju kolejnej generacji inteligentnego pierścienia, prawdopodobnie Galaxy Ring 2.

Co wiadomo

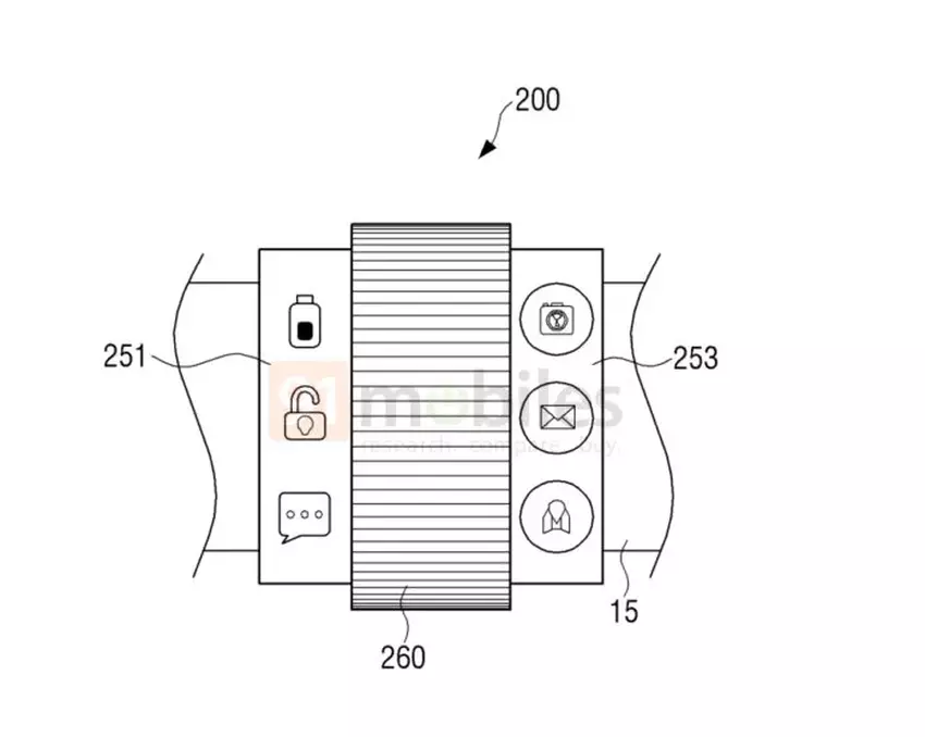
Konstrukcja pierwszej generacji Galaxy Ring ma klasyczny okrągły kształt z wewnętrzną i zewnętrzną warstwą ze wszystkimi czujnikami pomiędzy nimi. Dopasowują się one do skóry użytkownika, zapewniając dokładne pomiary danych zdrowotnych. Wygląda na to, że Samsung zaczął już podejmować pierwsze kroki w kierunku stworzenia drugiej generacji pierścienia. Niedawno ujawniony patent pokazuje pierścień z powiększoną częścią zewnętrznej strony, która jest lekko spłaszczona. Wewnętrzna warstwa, z oczywistych powodów, pozostaje całkowicie okrągła.

1
2
3
4
5
6

Taka konstrukcja sprawia, że pierścień wygląda bardziej dekoracyjnie. Być może Samsung stara się poprawić estetykę Galaxy Ring, aby ludzie mieli więcej powodów, by go kupić. Podniesiona warstwa zewnętrzna zapewnia również miejsce na większą baterię i dodatkowe czujniki. Firma może również myśleć o dodaniu małego ekranu. Urządzenie do noszenia może być wyposażone w czujnik temperatury, czujnik przyspieszenia, czujnik odcisków palców i pomiar EKG.

Według 91Mobiles, patent został zarejestrowany w USA w maju 2024 roku. Biorąc pod uwagę, że pierwsza generacja Galaxy Ring była już wtedy gotowa, przedstawiony projekt może być jedną z opcji dla Galaxy Ring. Oficjalnie Samsung nie ujawnia zbyt wielu informacji na temat Galaxy Ring, ale przecieki ujawniły, że urządzenie ma szerokie możliwości monitorowania stanu zdrowia i może zastąpić Galaxy Watch, chociaż dla dokładniejszych wyników lepiej jest używać obu urządzeń w tandemie. Więcej szczegółów spodziewanych jest na imprezie Unpacked, gdzie zaprezentowane zostaną również nowe składane smartfony, zegarki i słuchawki bezprzewodowe.

Źródło: 91Mobiles

var _paq = window._paq = window._paq || []; _paq.push(['trackPageView']); _paq.push(['enableLinkTracking']); (function() { var u='//mm.magnet.kiev.ua/'; _paq.push(['setTrackerUrl', u+'matomo.php']); _paq.push(['setSiteId', '2']); var d=document, g=d.createElement('script'), s=d.getElementsByTagName('script')[0]; g.async=true; g.src=u+'matomo.js'; s.parentNode.insertBefore(g,s); })();