Patent Samsunga na potrójnie składany smartfon potwierdza jego rozwój

Patent Samsunga na potrójnie składany smartfon potwierdza jego rozwój

Wiadomości o możliwym potrójnie składanym smartfonie Samsunga wciąż się pojawiają, potwierdzając plotki o jego premierze w 2025 roku. Samsung złożył wniosek patentowy na potrójnie składany smartfon w 2021 roku, ale otrzymał zgodę dopiero w listopadzie 2024 roku.

Co wiadomo

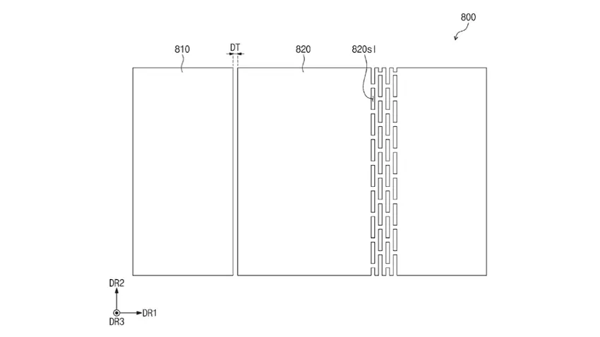
Nowy patent dostarcza dodatkowych szczegółów na temat potencjalnego urządzenia. Patent opisuje systemy, które Samsung mógłby wdrożyć, aby zapewnić integralność ekranu i urządzenia jako całości. Wewnętrzna konstrukcja ma na celu zminimalizowanie nacisku na ekran podczas składania i rozkładania oraz ułatwia jego rozszerzanie, unikając nadmiernej siły.

1
2
3
4

Obudowa urządzenia zawiera warstwy kleju i płyty nośne ze stali nierdzewnej lub szkła, aby zapewnić wytrzymałość ekranu. Patent wspomina również o systemie antyrefleksyjnym opartym na warstwie żywicy syntetycznej i systemie amortyzacji chroniącym przed uderzeniami i upadkami.

Chociaż Samsung nie będzie już pierwszą dużą firmą, która wypuści urządzenie o takim kształcie (Huawei wypuścił już swój pierwszy potrójny smartfon), patent pokazuje, że firma chce opracować technologię poprawiającą niezawodność i trwałość swoich przyszłych składanych smartfonów.

Źródło: MSPowerUser

var _paq = window._paq = window._paq || []; _paq.push(['trackPageView']); _paq.push(['enableLinkTracking']); (function() { var u='//mm.magnet.kiev.ua/'; _paq.push(['setTrackerUrl', u+'matomo.php']); _paq.push(['setSiteId', '2']); var d=document, g=d.createElement('script'), s=d.getElementsByTagName('script')[0]; g.async=true; g.src=u+'matomo.js'; s.parentNode.insertBefore(g,s); })();