Nowy patent ujawnił, że HONOR pracuje nad nowym smartfonem z wysuwanym ekranem

Nowy patent ujawnił, że HONOR pracuje nad nowym smartfonem z wysuwanym ekranem
HONOR Magic V3. Źródło: HONOR

Według najnowszych informacji, HONOR może pracować nad własnym smartfonem z wysuwanym ekranem.

Co wiadomo

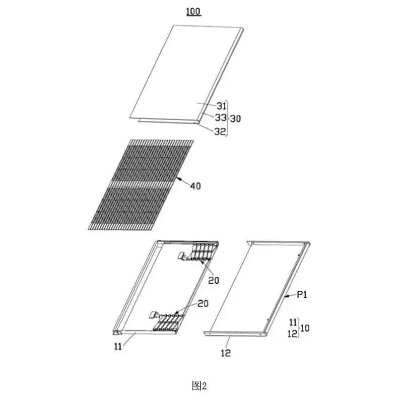
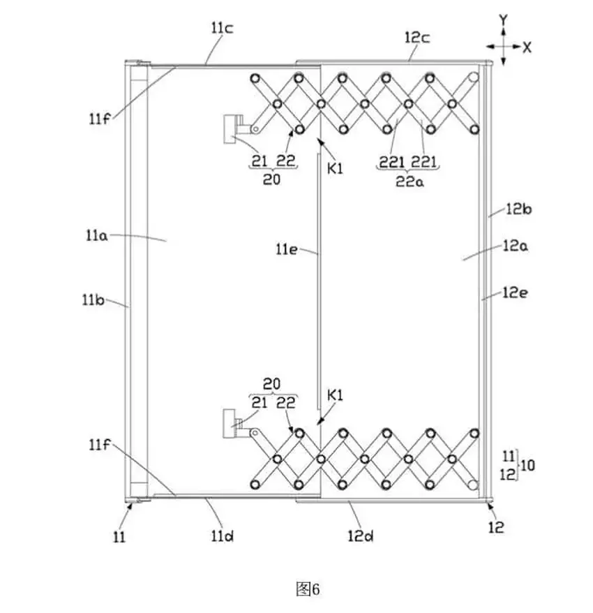
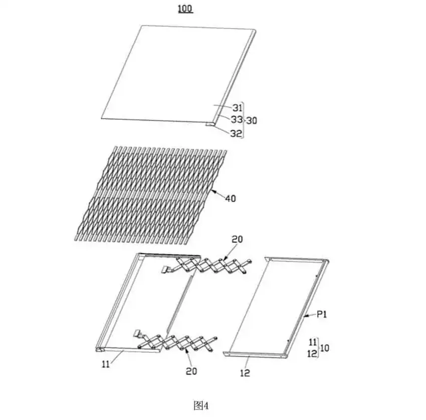
Niedawno odkryto patent zarejestrowany w CNIPA (China National Intellectual Property Administration), który wskazuje na rozwój urządzenia z przesuwanym lub rozsuwanym wyświetlaczem. Zgodnie z patentem, ekran składa się z dwóch części: jedna pozostaje nieruchoma, a druga wysuwa się na bok. Części te są połączone i zabezpieczone elastycznymi belkami, umożliwiając płynne przesuwanie ekranu.

1
2
3

HONOR poczynił już znaczne postępy w dziedzinie składanych smartfonów dzięki HONOR Magic V3, najcieńszemu i najlżejszemu składanemu telefonowi na rynku. Teraz firma chce wykorzystać swoją wiedzę również w dziedzinie wysuwanych ekranów.

Żadna firma nie wprowadziła jeszcze na rynek komercyjnie dostępnego smartfona z wysuwanym ekranem, chociaż OPPO i LG pokazały koncepcje takich urządzeń. Czas pokaże, czy HONOR będzie w stanie powtórzyć swój sukces z rozsuwanymi ekranami.

Źródło: ithome, 91mobiles

var _paq = window._paq = window._paq || []; _paq.push(['trackPageView']); _paq.push(['enableLinkTracking']); (function() { var u='//mm.magnet.kiev.ua/'; _paq.push(['setTrackerUrl', u+'matomo.php']); _paq.push(['setSiteId', '2']); var d=document, g=d.createElement('script'), s=d.getElementsByTagName('script')[0]; g.async=true; g.src=u+'matomo.js'; s.parentNode.insertBefore(g,s); })();