Apple uzyskało patent na zawias nowej generacji dla potencjalnego składanego iPhone'a lub iPada

Apple uzyskało patent na zawias nowej generacji dla potencjalnego składanego iPhone'a lub iPada
Koncepcja składanego iPhone'a. Źródło: Michal Dufka

Apple uzyskało nowy patent na zawias do urządzeń składanych, który może być stosowany w smartfonach, tabletach, laptopach, a nawet urządzeniach do noszenia.

Co wiadomo

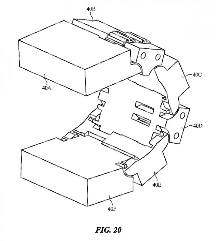
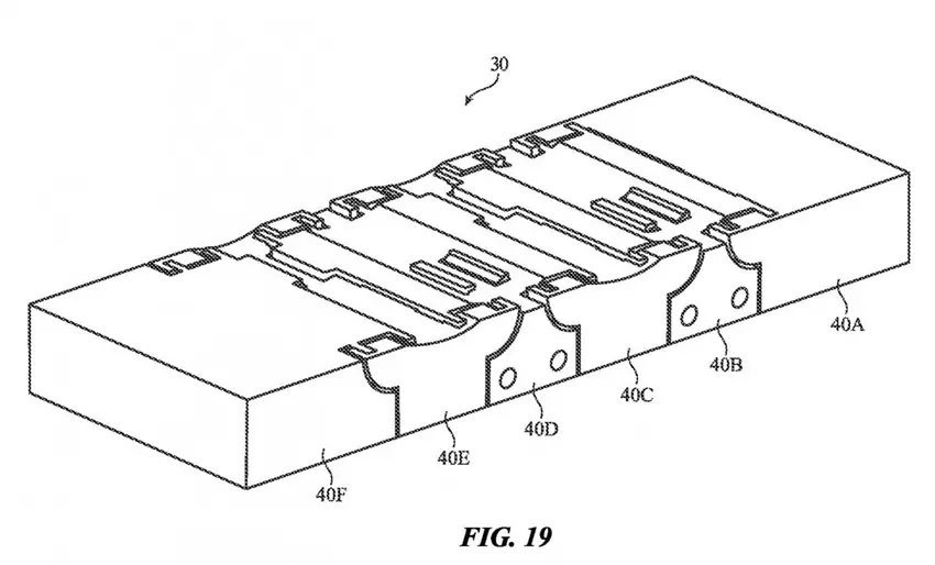
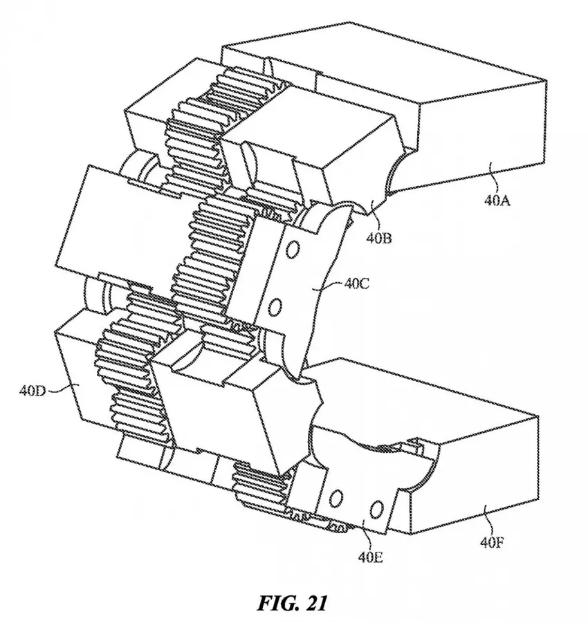
Patent opisuje serię zazębiających się ogniw utworzonych z połączonych "palców" i sprzęgła ciernego. Kluczową cechą jest zastosowanie szczelin w kształcie półksiężyca, które pozwalają każdemu ogniwu obracać się względem innych, co przesuwa oś obrotu poza samo ogniwo. Zapewnia to płynne i zrównoważone składanie jednostki z odpowiednią ilością tarcia. Zawias zawiera również synchronizujące płytki zębate, które zapewniają, że obie strony zawiasu obracają się równomiernie.

1
2
3
4
5

Apple już wcześniej informowało, że pracuje nad składanym iPhone'em i większymi składanymi urządzeniami, takimi jak iPad i MacBook, ale napotkało wyzwania techniczne związane z opracowaniem wyświetlacza i komponentów mechanicznych. Nowy patent może pomóc firmie przezwyciężyć te wyzwania i poprawić trwałość i funkcjonalność przyszłych składanych urządzeń.

Źródło: GSMArena

var _paq = window._paq = window._paq || []; _paq.push(['trackPageView']); _paq.push(['enableLinkTracking']); (function() { var u='//mm.magnet.kiev.ua/'; _paq.push(['setTrackerUrl', u+'matomo.php']); _paq.push(['setSiteId', '2']); var d=document, g=d.createElement('script'), s=d.getElementsByTagName('script')[0]; g.async=true; g.src=u+'matomo.js'; s.parentNode.insertBefore(g,s); })();